Витяжний вентилятор Ventika Rotus 100 RO L
Витяжний вентилятор Ventika Rotus 100 RO L – це ідеальне рішення для забезпечення свіжого та чистого повітря у вашому будинку. З його допомогою ви зможете швидко та ефективно покращити вентиляцію приміщення, позбавившись неприємних запахів, вологи та зайвої вологості.
Потужність та ефективність
Зі споживаною потужністю всього 14 Вт і максимальною витратою повітря до 92 м³/год, цей вентилятор забезпечить оптимальну якість повітря у вашому будинку. Серія Rotus гарантує надійність та тривалий термін служби, а заводський гарантійний термін 24 місяці надає впевненості у якості продукту.
Тиха та надійна робота
З рівнем шуму всього 33 дБ(А) та двигуном на шарикопідшипниках, Ventika Rotus 100 RO L забезпечує безшумну та надійну роботу. Ви можете насолоджуватися свіжим повітрям без зайвого шуму та напруги.
Простий монтаж та стильний дизайн
Цей витяжний вентилятор легко монтується як на стіні, так і на стелі, що робить його зручним та універсальним для різних приміщень. Його компактні розміри та стильний білий колір підходять до будь-якого інтер'єру, не порушуючи загальний вигляд приміщення.
Бренд | Ventika |
Тип вентилятора | Осьові |
Підходить | Для круглих каналів |
Зворотній клапан | Так |
Двигун на шарикопідшипниках | Так |
Потужність | 14 Вт |
Максимальна витрата повітря | 92 — 92 м3/ч |
Макс. темп. переміщуваного повітря | 40 °C |
Струм | 0.085 A |
Напруга | 230 B |
Кількість швидкостей | 1 |
Монтаж | Настінний, Стельовий |
Рівень звукового тиску | 33 — 33 дБ |
Клас захисту | IP X34 |
Частота току | 50 Гц |
Матеріал корпуса | АБС пластик |
Маса | 0.5 кг |
Колір | білий |
Країна виробник | Польща |
Гарантія (міс.) | 60 |
Фізичні характеристики | |
Форма | Кругла |
Діаметр | 100 мм |
Габаритні розміри | 140 × 140 × 88 мм |
Глибина патрубка | 88 мм |

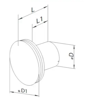
Габаритні розміри Витяжний вентилятор Ventika Rotus 100 RO L

Модель |
Розміри, мм | |||
| ØD | ØD1 | L | L1 | |
| Витяжний вентилятор Ventika Rotus 100 RO L | 100 | 172 | 121 | 88 |
Офіс і склад в центріМожна відразу оплатити і подивитися товар в одному місці
Ми професіонали8 років досвіду дозволяють задовольнити будь-які потреби покупця
Гарантія та якістьГарантоване повернення товару протягом 14 днів
On-line оплата на сайтіОплата здійснюється банківськими картами
Штуцер цанговий SIGMA I 12мм МТ 1/2"38 грн./шт.
Амортизатор гумово-металевий 20-10 тип 1101 грн./шт.
Регулятор швидкості ВЕНТС РС-1-300444 грн./шт.
























































































































































































