Зонт вытяжной пристенный 400x400х350 № 3
Описание
Срок поставки 1-7 дней.
Зонт вытяжной пристенный используется для очистки воздуха в помещениях, устанавливается над всевозможными жарочными поверхностями, кухонными плитами, фритюрницами, грилями, мангалами, тандырами (твердотопливными котлами) поглощая излишки испарений, неприятные запахи, продукты горения, жиры.
- Оцинкованная сталь толщиной 0.5 мм
- Подсоединение воздуховода круглое или прямоугольное
- Возможность комплектации с жироуловителем лабиринтного типа
- Заказ индивидуального размера
Можем изготовить зонт из оцинкованной стали толщиной 0.7 или 1.0 мм.
Также можем изготовить зонт из нержавеющей стали.
Характеристики
Габариты упаковки | |
Тип зонта | пристенный |
Форма | квадратная |
Модель зонта | Модель 3 |
Материал корпуса | оцинкованная сталь |
Страна-производитель | Украина |
Физические характеристики | |
Диаметр (мм) | 100 мм |
Ширина | 400 мм |
Высота | 350 мм |
Глубина | 400 мм |
Толщина стали | 0.5 мм |
Зонт вытяжной пристенный 400x400х350 № 3 отзывы

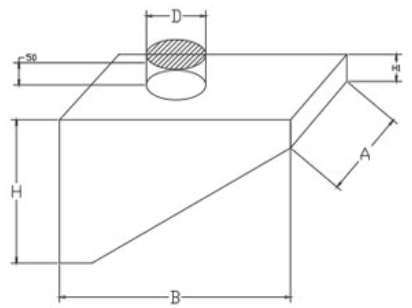
Чертеж
Габаритные размеры Зонт вытяжной пристенный 400x400х350 № 3

Модель |
Размеры, мм | |||||
| A | B | H1 | H2 | D | Толщина | |
| Зонт вытяжной пристенный 400x400х350 № 3 | 400 | 400 | 350 | 100 | 100 | 0.5 |
Схожие товары
Офис и склад в центреМожно сразу оплатить и посмотреть товар в одном месте
Мы профессионалы8 лет опыта позволяют удовлетворить любые потребности покупателя
Гарантия и качествоГарантированный возврат товара в течении 14 дней
On-line оплата на сайтеОплата производится банковскими картамиПопулярные товары
Хомут ВЕНТС Х 15072 грн./шт.
Звено соединительное Vision 10B-1 15,87552 грн./шт.
Вентилятор Турбовент НОК 1502 199 грн./шт.Помощь
+38 044 545-77-31
Отдел продаж
+38 095 402-26-44
Если у вас возникли вопросы при оформлении заказа, обратитесь по указанным контактам.























































































































































































































